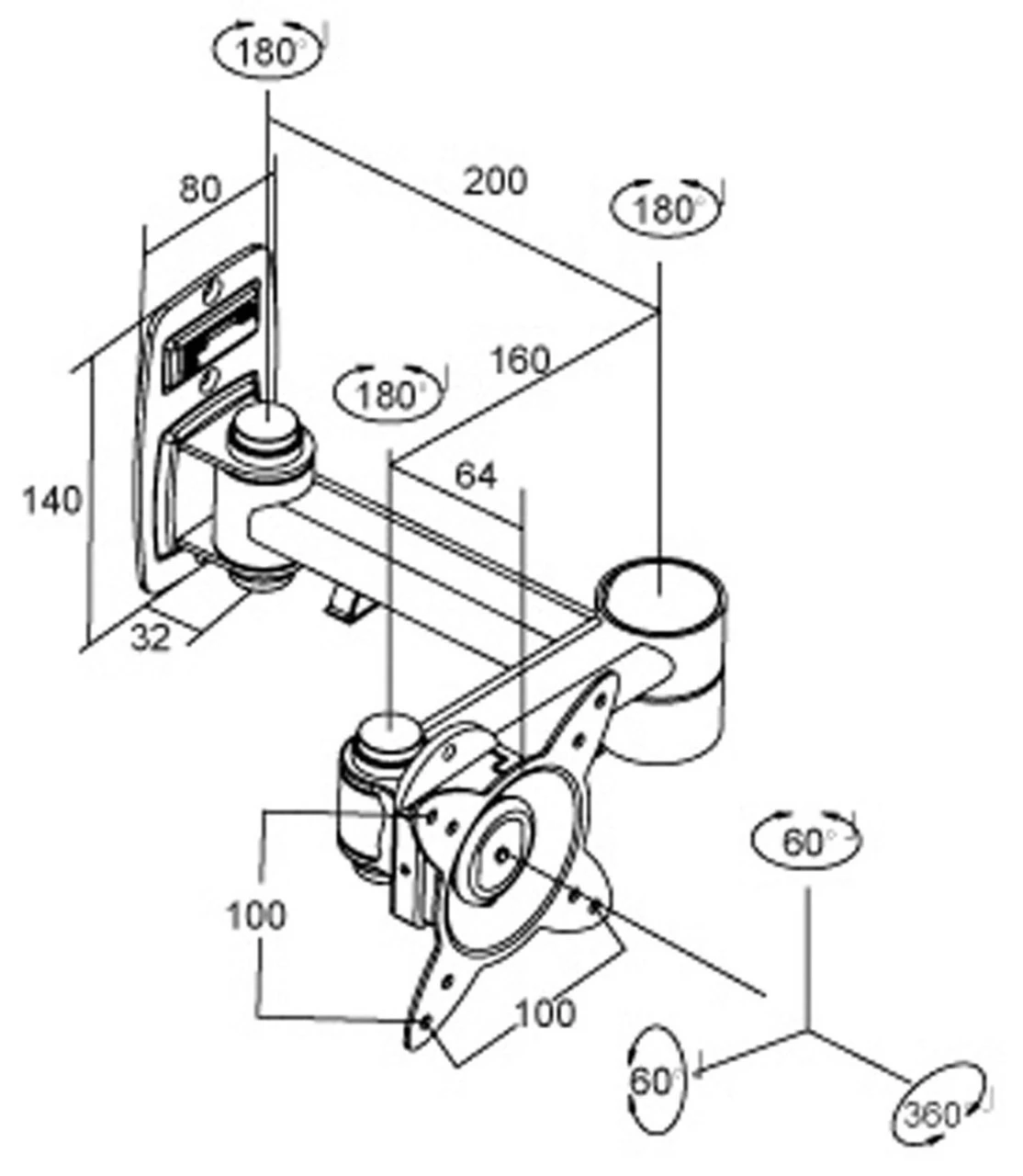
Svensen SV9.0 Adjustable Swing Arm Caravan TV Bracket
This solid Svensen SV9 caravan television bracket is designed for flat screen LCD/LED TV’s and is easy to install with an included built-in spirit level!
The well designed Svensen caravan SV9 television bracket makes it easy to clip or unclip the SV9 TV bracket & can be locked for added security.
One final benefit of the Svensen SV9 Caravan TV bracket is it can fit both 75mm and 100mm VESA mount points.














Reviews
There are no reviews yet.